• О предприятии
  • Контакты
    • Место нахождения
    • Обратная связь
  • Продукция
    • Изоляторы опорные
    • Изоляторы проходные
    • Изоляторы опорно-стержневые
    • Изоляторы для электротранспорта
    • Изоляторы штыревые
    • Разрядники
    • Трубка для высоковольтных предохранителей ТРФ, сердечник ИФРГ
    • Предохранители ПКТ-10кВ ПКТ-6кВ
  • Документация
    • Сертификаты
ООО «Митроль»

Производство керамических электроизоляторов и разрядников
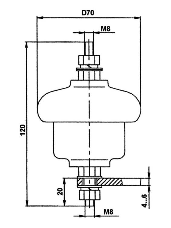
РВН-0.5

Все изоляторы » Разрядники
Марка разрядника : РВН-0.5 У1
  • Номинальное напряжение: 0.38 кВ
  • Пробивное напряжение: 2.3 кВ
  • Масса: 0.25 кг

Чертеж изолятора:


Разрядники РВН-0,5 У1 предназначены для защиты от атмосферных перенапряжений изоляции электрооборудования переменного тока частотой 50 и 60 Гц. Изготавливаются для сетей с любой системой заземления нейтрали.

Контакты: тел./факс (0626) 41-41-64, 41-13-13.