• О предприятии
  • Контакты
    • Место нахождения
    • Обратная связь
  • Продукция
    • Изоляторы опорные
    • Изоляторы проходные
    • Изоляторы опорно-стержневые
    • Изоляторы для электротранспорта
    • Изоляторы штыревые
    • Разрядники
    • Трубка для высоковольтных предохранителей ТРФ, сердечник ИФРГ
    • Предохранители ПКТ-10кВ ПКТ-6кВ
  • Документация
    • Сертификаты
ООО «Митроль»

Производство керамических электроизоляторов и разрядников
ИО-6-3,75

Все изоляторы » Изоляторы опорные

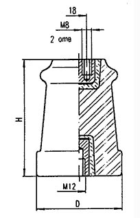
Чертежи изоляторов:

ИО-6-3,75 I У3:          ИО-6-3,75 II У3:


  • Номинальное напряжение: 6 кВ
  • Минимальная разрушающая сила на изгиб: 3,75 кН
  • Масса: 1,0 кг

Габаритные размеры:

Наименование изолятора

H, мм

D, мм

Изолятор ИО-6-3,75-2 У 3

100

77

Контакты: тел./факс (0626) 41-41-64, 41-13-13.